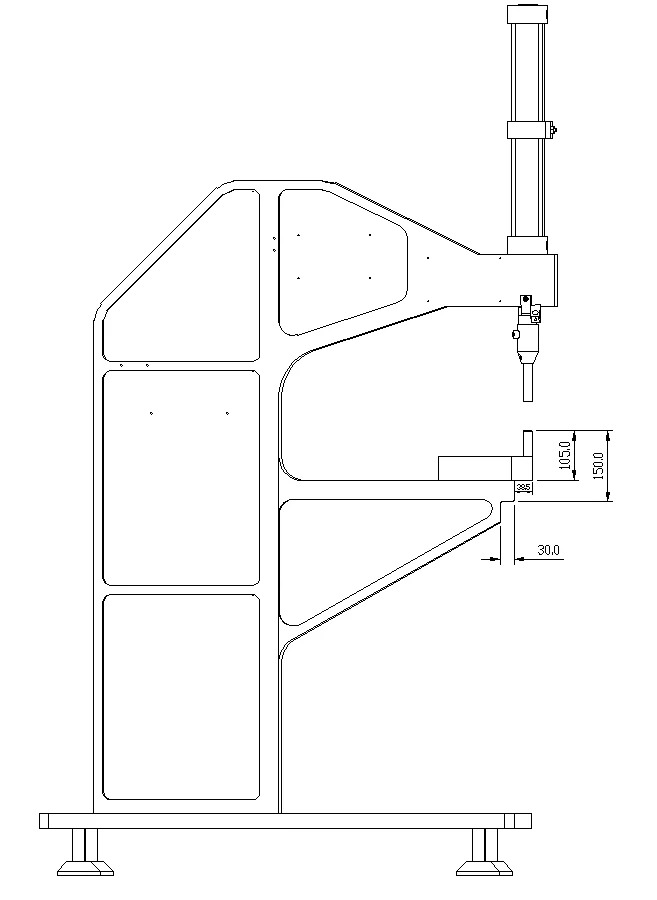
Запрессовочный станок Fixmaster Maxholder 8000
Новинки
950 000 ₽
-
+
В корзину
Обращаем Ваше внимание на то, что приведенные цены, характеристики и фотографии товаров носят исключительно ознакомительный характер и не являются публичной офертой, определяемой пунктом 2 статьи 437 Гражданского кодекса Российской Федерации.
Описание
Пресс для установки запрессовываемого крепежа FIXMASTER MAXHOLDER 8000 позволяет устанавливать втулки и гайки М2,5 – М12.
Пресс оборудован высокоточной регулировкой давления сжатия, системой безопасности оператора-установщика, лазерным указателем центровки, надежным пневмогидравлическим поршнем.
Преимущества
- Большая сила сжатия до 80 000 Н
- Высокоточная регулировка сжатия давления
- Система безопасности оператора
- Лазерный указатель центровки
- Установка крепежа М 2,5–М 12
Характеристики
|
Диапазон крепежа
|
М2,5 – М12 |
|
Номинальное усилие пресса, кН
|
80 |
|
Ход ползуна(стола), мм
|
100 |
|
Потребляемая мощность, кВт
|
7,5 |
|
Габаритные размеры, мм
|
1100*750*2200 |
|
Масса, кг
|
500 |
- Инструмент
- Оснастки для шпилек М 2.5-М 8
- Оснастки для гаек М 2.5- М 10
- Набор шестигранных ключей
Видео (4)











