Вертикально-сверлильный станок 2Т125
Вертикально-сверлильный станок 2Т125 - мощный сверлильный станок с перемещающимся по круглой колонне столом, диаметром сверления 25 мм. На станке 2Т125 можно обрабатывать детали на столе, более крупные — на фундаментной плите.
Вертикально-сверлильный станок 2Т125 предназначен для:
- сверления;
- рассверливания;
- зенкерования;
- зенкования;
- нарезания резьбы.
Технические особенности станка 2Т125
Вертикально-сверлильный станок 2Т125 позволяет сверлить отверстия диаметром до 25 мм и нарезать резьбу М20.Вертикально-сверлильный станок 2Т125 обеспечивает:
- ручную и механическую подачу шпинделя;
- нарезание резьбы с ручным реверсированием шпинделя;
- контроль перемещения шпинделя по линейки;
- возможность охлаждения зоны резания.
Простота конструкции обеспечивает легкость управления, надежность и долговечность станков.
Сверление на вертикальном станке 2Т140 осуществляется подачей шпинделя вручную или механически. Механическая подача шпинделя отключается автоматически при достижении заданной глубины отверстия. Ручная подача контролируется по шкале линейки, установленной на корпусе шпиндельной бабки.
На станке возможно, также, нарезание резьбы как с ручным включением реверсирования шпинделя, так и с автоматическим включением ревесирования на заданной глубине резьбы.
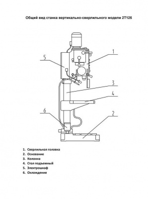
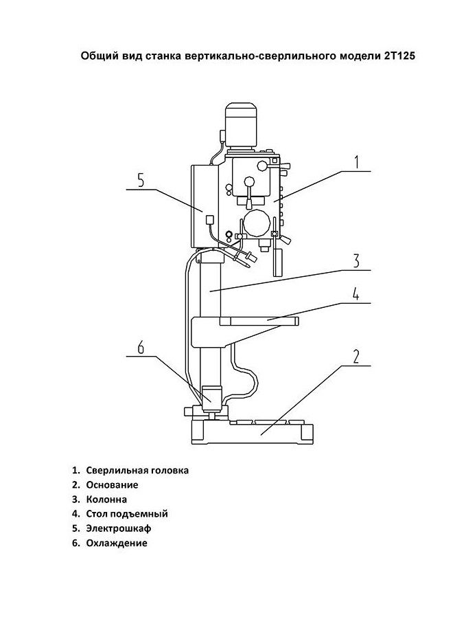
Шпиндельная бабка (сверлильная головка) станка имеет возможность перемещаться по колонне в пределах 240 мм. Шпиндель перемещается на 160 мм
Детали могут закрепляются как на рабочем столе, так и на фундаментной плите. Рабочий стол крепится на колонне и регулируется по высоте в пределах 500 мм. Стол может, также, вращаться вокруг колонны и поворачиваться вокруг своей оси, что позволяет обрабатывать наклонные отверстия.По заказу:
- обработка отверстий на заданную глубину с автоматическим отключением подачи;
- автоматическое включение подачи при повторном цикле обработки;
-
Нарезание резьбы на заданную глубину с автоматическим реверсированием шпинделя на 2Т125.
Срок гарантийного обслуживания станка 2Т125 - 12 месяцев.
|
Макс. Ø сверления (сталь), мм
|
25 |
|
Размеры раб. поверхности стола, мм
|
400х500 |
|
Диапазон скоростей шпинделя, об/мин
|
80-2000 |
|
Макс. Ø нарезаемой резьбы (сталь), мм
|
М20 |
|
Макс. Ø сверления (чугун), мм
|
32 |
|
Количество скоростей шпинделя
|
8 |
|
Количество подач шпинделя
|
3 |
|
Диапазон подач шпинделя, мм/об
|
0.1/0.2/0.3 |
|
Расстояние от оси шпинделя до колонны, мм
|
260 |
|
Расстояние от торца шпинделя до стола, мм
|
940-1100 |
|
Ход пиноли шпинделя, мм
|
160 |
|
Установочный ход стола, мм
|
670 |
|
Конус шпинделя, Морзе
|
КМЗ |
|
Размеры раб. поверхности плиты, мм
|
500х525 |
|
Диаметр колонны, мм
|
120 |
|
Мощность двигателя, кВт
|
1.5 |
|
Напряжение питания, В
|
3x380 |
|
Габаритные размеры, мм
|
770х540х2140 |
|
Масса, кг
|
450 |
- втулки ГОСТ 13598-85 6100-0142 (Морзе 3-1), 6100-0144 (Морзе 3-1);
- клин 7851-0012 ГОСТ 3025-78.
- патрон сверлильный 6150-4020-03;
- тиски 7200-0215-02;
- патрон резьбонарезной 045.0730.000;
- головки ТУ2.035.0223723.001-90.



