Токарно-винторезный станок ГС526У
Токарно-винторезный станок ГС526У - промышленное оборудование, предназначенное для ведения токарных работ различного профиля (в т.ч. нарезание дюймовых, питчевых, метрических или модульных резьб).
Модификации
Токарно-винторезный станок ГС526У производится в нескольких базовых модификациях, каждая из которых обладает собственными функциональными особенностями и комплектацией. На модификацию указывает индекс в наименовании оборудования. Основные модификации токарно-винторезного станка ГС526У следующие:
- С - станок оборудован сверлильно-фрезерным устройством, обеспечивающим возможность выполнения работ по фрезеровке, сверлению, расточке, зенкерованию и нарезанию резьб под углом на заготовках, закрепленных на суппорте;
- В - увеличен максимальный диаметр заготовки, которая может обрабатываться на станке (630 мм над станиной и 420 мм в суппорте);
- Г - токарно-винторезный станок ГС526У с выемкой в станине;
- Д - до 89 мм увеличен максимальный диаметр прутка, устанавливаемого в отверстие шпинделя;
- Л - оборудование с ценой деления лимба перемещения в поперечном направлении 0,02 мм;
- М - токарно-винторезный станок ГС526У с механизированным приводом движения верхней части суппорта;
- Ц - станок с цифровой индексацией подачи заготовки и преобразователями линейных перемещений;
- РЦ - токарно-винторезный станок ГС526У с цифровой индексацией подачи, бесступенчатым управлением частотой вращения шпинделя и преобразователями линейных перемещений;
- Е - оборудование, которое соответствует нормативам безопасности Евросоюза и обозначено маркировкой "СЕ".
При необходимости модификации можно комбинировать. Это позволяет заказать токарно-винторезный станок ГС526У с требуемым набором характеристик и комплектацией.
Токарно-винторезный станок ГС526У применяется на промышленных предприятиях, в цехах механической обработки или частных мастерских.
Посадочные и присоединительные базы станка ГС526У. Шпиндель
Расположение основных узлов токарно-винторезного станка ГС526У
Расположение основных узлов токарно-винторезного станка гс526у
Перечень основных узлов токарно-винторезного станка ГС526У
- Расположение электрооборудования
- Бабка шпиндельная
- Ограждение патрона
- Охлаждение
- Резцедержатель
- Ограждение суппорта
- Верхняя и средняя часть суппорта
- Каретка и нижняя часть суппорта
- Бабка задняя
- Станина и основание
- Фартук
- Управление фрикционом
- Коробка подач
- Система смазки
- Установка моторная
- Коробка скоростей
Коробка подач 16Б20П.077 позволяет производить нарезку дюймовых резьб 11 и 19 ниток на дюйм без смены шестерен гитары и устанавливается на токарные станки ГС526У.
Фартук предназначен для преобразования вращательного движения ходового винта и ходового вала в продольное перемещение каретки и поперечное перемещение суппорта, а также для ручного управления этими перемещениями в процессе работы токарно-винторезного станка (включение и выключение рабочих и ускоренных перемещений каретки и суппорта, реверсирование перемещений и т.д.).
Фартук позволяет осуществлять работу по упору с автоматическим отключением подачи.
Кинематическая схема токарно-винторезного станка ГС526У
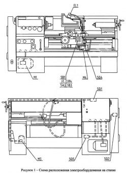
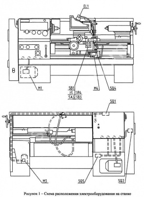
Схема расположения электрооборудования на токарном станке ГС526У
Схема расположения электрооборудования на токарном станке Гс526у
Электрическая схема станка ГС526У
Электрооборудование токарно-винторезного станка ГС526У
Электрооборудование станка состоит из:
- аппаратов защиты, управления и сигнализации;
- электродвигателей;
- других аппаратов и устройств, осуществляющих соединение электрических цепей.
Характеристика электрооборудования станка ГС526У
Электрооборудование станка рассчитано на подключение к трехфазной сети переменного тока напряжением ~380 В с частотой 50 Гц.
Электроавтоматика станка питается от следующих величин напряжения вторичного источника питания:
- цепь управления ~110 В переменного тока;
- цепь сигнализации ~22 В переменного тока;
- местное освещение ~24 В переменного тока.
|
Макс. длина заготовки, мм
|
1000 |
|
Макс. Ø заготовки над суппортом, мм
|
275 |
|
Макс. Ø заготовки над станиной, мм
|
500 |
|
Класс точности по ГОСТ 8-82
|
П |
|
Количество скоростей
|
22/22 |
|
Диапазон скоростей шпинделя, об/мин
|
16-2000 |
|
Конус шпинделя
|
KM6 |
|
Диаметр отверстия шпинделя, мм
|
57 |
|
Конец шпинделя
|
6K |
|
Диапазон продольных подач, мм/об
|
0.05-2.8 |
|
Диапазон поперечных подач, мм/об
|
0.025-1.4 |
|
Шаг метрической резьбы, мм
|
0.5-112 |
|
Шаг дюймовой резьбы, нит/дюйм
|
56-0.5 |
|
Шаг модульной резьбы, мм
|
0.5-112 |
|
Шаг питчевой резьбы, питч
|
56-0.5 |
|
Макс. крутящий момент, кНм
|
1 |
|
Макс. высота резца, мм
|
25 |
|
Напряжение питания, В
|
3x380 |
|
Потребляемая мощность, кВт
|
11 |
|
Габаритные размеры, мм
|
2800x1265x1485 |
|
Масса, кг
|
3100 |
- Станок в сборе;
- Система подачи СОЖ;
- 16Б20П.061. 060 Копир;
- Патрон 3-х кулачковый диаметром 250 мм. (3-250.35.14П);
- Ограждение патрона;
- Ограждение суппорта;
- Пневмооборудование для разгрузки задней бабки;
- 086.5300.000 комплект сменных зубчатых колес:
- 086.5300.001 колесо зубчатое сменное Z=45; m =2;
- 086.5300.009 колесо зубчатое сменное Z=73; m =2;
- 086.5300.011 колесо зубчатое сменное Z=86; m =2;
- 086.5300.013 колесо зубчатое сменное Z=72; m =2;
- 086.5300.002 колесо зубчатое сменное Z=48; m =2;
- 086.5300.010 колесо зубчатое сменное Z=80; m =2.
- 086.6000.000 комплект инструмента – 1 шт.;
- 086.6002.000 ключ к электрошкафу – 1 шт.;










