Магнитный сверлильный станок МС-36
Магнитно-сверлильный станок МС-36 - компактный сверлильный станок, который применяется для выполнения и механической обработки отверстий в неподвижных металлических поверхностях.
Магнитно-сверлильный станок МС-36 позволяет сверлить отверстия до 40 мм кольцевой фрезой.
Ключевые особенности
От аналогичных моделей того же класса магнитно-сверлильный станок МС-36 отличается некоторыми ключевыми особенностями:
- компактное исполнение на МС-36;
- небольшая минимальная высота (306 мм);
- особая обмотка ротора для защиты узла при максимальной нагрузке;
- встроенная система подачи СОЖ на МС-36;
- небольшой вес (9,95 кг);
- энергосберегающее электромагнитное основание с системой MFSC;
- современная защита от перегрузок;
- контроль силы притяжения;
- трубчатые направляющие с повышенной износостойкостью.
Эти и некоторые другие особенности магнитно-сверлильного станка МС-36 позволяют выполнять отверстия в металле диаметром до 50 мм с помощью корончатых сверл.
Комплектация
Комплектация магнитно-сверлильного станка МС-36 включает:
- страховочную цепь;
- ЗИП;
- рабочий патрон для установки инструмента.
Преимущества переносных магнитных сверлильных станков перед стационарными:
- Нет ограничений на габариты обрабатываемой детали, т.к. станок крепится непосредственно в месте сверления (зенкования, нарезания резьбы и т.д.). В стационарных станках габариты рабочего пространства ограничены расстоянием между сверлом и рабочей поверхностью стола и расстоянием между осью сверла и стойкой (вылет станка).
- Нет необходимости транспортировать громоздкие детали к станку.
- Поверхность обрабатываемой детали может находиться под любым углом к горизонту – горизонтальным, наклонным, вертикальным. Ось сверления может быть направлена даже снизу вверх.
Устройство и работа магнитного сверлильного станка МС-36
Магнитный сверлильный станнок МС-36 представляет собой электрическую сверлильную машину с электромагнитным креплением к базовой поверхности.
Основой конструкции станка является корпус. Для крепления станка на базовой поверхности служит электромагнитное основание. На корпусе смонтирован привод станка, перемещающийся по направляющим суппорта. Перемещение привода осуществляется посредством вращения рукояток управления подачей через механизм привода подачи.
На корпусе станка смонтирована панель управления. Выключатель электромагнитного основания МАГНИТ одновременно служит общим выключателем станка. Для управления двигателем служит выключатель МОТОР.
Зеленая клавиша с символом I запускает двигатель, а красная с символом О служит для выключения двигателя. Включение питания двигателя невозможно без предварительного включения электромагнитного основания.
Внутри корпуса, за панелью управления, смонтирован электронный блок управления. Выполняет следующие функции:
- обеспечивает питание электромагнита
- обеспечивает контроль напряжения электромагнита и управление (включение и выключение) напряжением
- отключает станок в случае возникновения аварийной ситуации
Электромагнитное основание обеспечивает крепление станка к базовой поверхности с силой, гарантирующей уверенную работу оборудования и безопасность оператора при толщине базовой поверхности более 10 мм. Необходимо помнить, что при толщине метала менее 10 мм фиксации кнопки Старт не происходит. Для работы в этой ситуации необходима ручная фиксация кнопки. Такой тип крепления делает возможным выполнение отверстий, как в нормальном положении, так и в нетипичных позициях, например, при закреплении станка к стальной вертикальной стенке или стальному перекрытию. При этом необходимо, с целью соблюдения техники безопасности, закрепить машину страховочной цепью, входящей в комплект поставки.
Сборочная схема сверлильного магнитного станка МС-36
Обозначение основных частей сверлильного станка МС-36 (WRT-0440-10-20-00-0)
- Корпус - STJ-0440-01-00-00-0 = 1
- Электродвигатель - NPD-0440-06-00-00-1 = 1
- Защита фрезы - OSL-0440-04-00-00-0 = 1
- Баллон для СОЖ - UKL-0440-05-00-00-0 = 1
- Панель управления - PNL-0272-04-00-00-2 = 1
- Кабель сетевой - SZN-0212-10-02-00-2 = 1
- Рукоятки - DZW-0212-12-00-00-0 = 3
- Втулка - TLJ-0399-06-00-00-0 = 2
- Пружина - SPR-000030 = 2
- Шайба - PDK-000151 = 4
- Винт M5x20 - WKR-000395 2
- Винт М4х16 - WKR-000187 = 1
- Пружинная шайба - PDK-000060 = 1
- Гайка М4 - NKR-000013 = 2
- Пружинная шайба - PDK-000043 = 1
- Болт М6х35 - SRB-000122 = 4
- Шайба - PDK-000158 = 4
- Винт М3,5х13 - WKR-000415 = 4
- Комплект оборудования - ZST-0440-25-00-00-0 = 1 (не показан на рисунке)
- Ключ шестигранный - KLC-000007 = 1
- Цепь страховочная - LNC-000008 = 1
- Карабин - KRB-000001 = 1
- Инструкция - INS-0239-48-00-00-1 = 1
- Комплект этикеток - ZST-0440-15-01-00- = 1
- Ящик металлический - SKR-0440-12-00-00-0 = 1
- номинальный коммутируемый ток – 16А;
- уставка срабатывания (дифференциальный остаточный ток (тип АС)) – 30 мА (например, АД12 УХЛ4 ~230В 50 Гц №14 In≤16А IΔn=30мА)
- среда невзрывоопасная;
- отклонение напряжения питающей сети в пределах + 10% от номинального значения;
- колебания частоты тока питающей сети в пределах + 5% от номинального значения;
- при эксплуатации станка ниже -5 °С в качестве СОЖ применяется масло инструментальное И-30 ГОСТ 1707-56
Электрооборудование и электрическая схема сверлильного станка на магнитном основании МС-36
Эксплуатационные ограничения сверлильного станка на магнитном основании МС-36
Машина должна подключаться к сети переменного тока напряжением 220В с защитным контуром (заземление) и имеющей в своём составе выключатель автоматический дифференциальный (дифавтомат) типа АД… со следующими характеристиками:
В случае работ на открытых площадках электропитание станка должно производиться от автотрансформатора с вышеуказанным вариантом подключения. Параметры питающей сети должны соответствовать техническим характеристикам станка.
Машина предназначена для работы в следующих условиях:
При эксплуатации станка в условиях пониженной температуры окружающей среды (от -10 ºС) перед началом работы необходимо прогреть машину на холостом ходу в течение 5 минут.
После хранения или транспортирования станка при низких температурах с последующим вносом в помещение с более высокой температурой для эксплуатации, необходимо выдержать машину при данной температуре не менее 4-6 часов (в зависимости от величины разности температур) необходимых для удаления влаги (инея, росы).
При выполнении работ на немагнитных материалах и деталях, имеющих недостаточную площадь для установки магнитного основания станка, использовать стальные пластины толщиной 10 мм, надёжно прикрепив их к обрабатываемым деталям.
СОВМЕСТИМОСТЬ С РАЗНЫМИ ИНСТРУМЕНТАМИ
|
|
|
|
| Корончатое сверло | Твердосплавная фреза | Спиральное сверло |
Зенкер |
40 мм
13 мм
1050 Вт
350 об/мин
51 мм
70 мм
9.95 кг
нет
|
Макс. Ø сверления кольцевой фрезой, мм
|
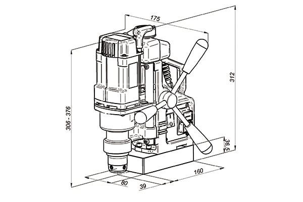
36 |
|
Макс. Ø сверления спир. сверлом, мм
|
16 |
|
Диапазон скоростей шпинделя, об/мин
|
350 |
|
Расстояние от оси шпинделя до основания, мм
|
39 |
|
Макс. Ø зенкерования, мм
|
40 |
|
Количество скоростей шпинделя
|
1 |
|
Рабочий ход, мм
|
70 |
|
Сверлильный патрон
|
19 мм Weldon |
|
Система подачи СОЖ
|
есть |
|
Автоматич. регулировка подачи
|
нет |
|
Высота макс.-мин, мм
|
376-306 |
|
Основание
|
электромагнит |
|
Размеры основания, мм
|
80x160x36.5 |
|
Напряжение питания, В
|
1x220 |
|
Потребляемая мощность, кВт
|
1 |
|
Габаритные размеры, мм
|
167x306x240 |
|
Масса, кг
|
9.95 |
- Страховочная цепь
- Патрон для крепления инструмента
- Чемодан пластиковый
- Система охлаждения
- Рукоятка подачи - 3шт
- Страховочный ремень
- Ключ шестигранный S=4
- Экран защитный
- Руководство по эксплуатации






