Горизонтально-фрезерный станок НГФ-110-Ш4
Горизонтально-фрезерный станок НГФ-110-Ш4 - металлообрабатывающий фрезерный станок, предназначенный для проведения фрезеровки горизонтальных поверхностей, пазов и других форм заготовок.
Характеристики и особенности модели
Горизонтально-фрезерный станок НГФ-110-Ш4 соответствует классу точности "Н", что позволяет использовать его в производстве, в образовательных учреждениях общего или специального профиля, при проведении ремонтных работ.
Горизонтально-фрезерный станок НГФ-110-Ш4 используется для работы следующими типами фрез:
- торцевыми;
- угловыми;
- дисковыми;
- концевыми;
- фасонными.
Литая чугунная станина (стойка) трапецеидального сечения обеспечивает жесткость станка.
Установка вертикально-фрезерной головки ВФГ позволяет дополнительно производить обработку вертикальных плоскостей, а также плоскостей под определённым углом до 450 по и против часовой стрелки.Горизонтально-фрезерный станок НГФ-110-Ш4 применяется на индивидуальных и мелкосерийных производствах, инструментальных цехах для обработки деталей.
Обозначение фрезерного станка НГФ-110Ш4. Буквы и цифры означают:
- Н - настольный станок;
- Г - горизонтальный станок;
- Ф - фрезерный станок;
- 110 - наибольший диаметр фрез, применяемых на станке (мм);
- Ш - школьный;
- 1, 2, 3, 4 - модель станка.
НГФ-110Ш4 Габариты рабочего пространства фрезерного станка
Габариты рабочего пространства фрезерного станка НГФ-110ш4
Эскиз хобота с серьгой горизонтально-фрезерного станка НГФ-110
- хобот
- серьга
- гайка
- втулка серьги
- гайка
Стойка в верхней части имеет направляющие типа «ласточкин хвост», в которых установлен хобот 1. Хобот можно перемещать по направляющим вручную. Зажим хобота на направляющих осуществляется клином, который при завертывании винта затягивается и закрепляет хобот на стойке.
В переднем конце хобота установлена серьга 2. Серьга на хоботе стягивается гайкой 5. Перестановка серьги с одного станка на другой в связи с индивидуальной подгонкой не допускается.
Бронзовый подшипник-втулка серьги 4 имеет коническую наружную поверхность и два продольных разреза, за счет которых гайкой 3 регулируется зазор в подшипнике.
Перед началом работы необходимо смазать маслом И-30А внутреннюю полость втулки серьги.
Регулировка зазора определяется по нагреву втулки серьги (при обкатке в течение одного часа при максимальной частоте вращения шпинделя нагрев втулки не должен превышать 50—60° С, при достаточно обильной смазке).
Оправка предназначена для крепления цилиндрических дисковых и других фрез.
Фрезы крепятся на оправке с помощью установочных колец и гайки.
Для обеспечения жесткости режущего инструмента свободный конец оправки устанавливается в опору серьги. Серьга закрепляется на хоботе.
НГФ-110 Посадочные и присоединительные базы фрезерного станка. Стол с салазками
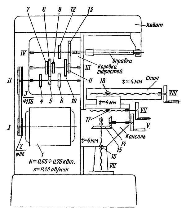
НГФ-110 Расположение составных частей на станке
Расположение составных частей на станке НГФ-110ш4
Перечень составных частей фрезерного станка
- стойка с коробкой скоростей
- консоль
- стол с салазками
- хобот с серьгой
- оправка
- плита с электроаппаратурой
- экран защитный
- тиски
- светильник местного освещения
НГФ-110 Расположение органов управления станком
Расположение органов управления станком НГФ-110
Перечень органов управления фрезерным станком НГФ-110
- рукоятка, переключения частот вращения шпинделя
- рукоятка, переключения частот вращения шпинделя
- маховичок продольной подачи
- маховичок поперечной подачи
- маховичок вертикальной подачи
- кнопочный пост управления
Схема электрическая фрезерного станка НГФ-110
Электрическая схема фрезерного станка НГФ-110ш4
К электрооборудованию относятся: трехфазный короткозамкнутый асинхронный электродвигатель, установленный в нижнем отсеке стойки, и установленные в изолированных нишах плиты станка (поз. 6 рис. 1) магнитный пускатель, трансформатор, клеммные колодки, предохранителя, выключатели, кнопочный пост управления, тепловое реле.
На станке установлен светильник местного освещения
|
Макс. Ø фрезерования, мм
|
30-110 |
|
Размеры рабочего стола, мм
|
400x100 |
|
Частота вращения шпинделя, об/мин
|
125/200/315/500/800/1250 |
|
Макс. перемещение стола, мм
|
250/85/170 |
|
Расст-е от оси шпинделя до раб. пов-ти стола, мм
|
30-200 |
|
Конус шпинделя по ГОСТ 30064-93
|
KM3 |
|
Мощность двигателя, кВт
|
0.75 |
|
Напряжение питания, В
|
3x380 |
|
Габаритные размеры, мм
|
685x640x925 |
|
Масса, кг
|
240 |
Базовая (стандартная) комплектация горизонтально-фрезерного станка НГФ-110-Ш4 включает:
- набор фрез;
- рабочий инструмент с оправкой;
- тиски;
- экран для защиты от металлической стружки.
Дополнительно может быть оборудован вертикально-фрезерной головкой ВФГ. Это дает возможность осуществлять фрезеровку вертикальных и наклонных поверхностей.







