Электромеханическая гильотина Q11-3x1250A
Данный тип станка оборудован понижающим приводом. Малое колесо цепной передачи, находящееся на моторе с регулируемой скоростью, вращает большое колесо и заставляет вращаться колесо эксцентриситетного соединения.


Основные части, такие, как корпус станка, корпус верхнего ножа, рабочий стол станка и прочие, имеют сварную конструкцию и выполнены из стали - обеспечивая долговечность и надёжность оборудования. Станок обладает высокой работоспособностью, выполнен в оригинальном дизайне и отвечает требованиям безопасности благодаря системе защиты отключения.
Особенности:
-
Механический задний упор имеет счётчик длины
-
Простая и быстрая регулировка зазора между ножами
-
Верхний и нижний нож имеют двухстороннюю заточку
-
Ножная педаль позволяет оператору мобильно управлять гильотиной, одновременно работая с подачей листа
-
Два режима резки при нажатии на ножную педаль – разовая и автоматическая
-
Рабочий ход ограничен движением хода кривошипно-шатунного механизма и не регулируется
-
Предварительный прижим материала перед моментом резки (прижим имеет резиновую вставку)
-
Расстояние от заднего упора до линии реза (съёмный упор) – 635мм
-
Ширина рабочего стола – 400мм
-
Длина передних удлинителей – 590мм
-
Количество передних удлинителей – 2шт
-
Количество мест для установки передних удлинителей – 1250 – 4 положения
-
Боковой упор для фиксации листа по 90°
-
Освещение рабочего стола
-
Лист улавливается с помощью пневматической системы поддержки листа.
-
Передний листовой поддон-накопитель для заготовок небольшой ширины.
-
Световая задняя система безопасности предотвращающая доступ человека во время работы станка, в зону резания с внутренней стороны станка.
-
Передняя сторона станка имеет защитный щиток предотвращающая случайный доступ в зону резания.
Соотношение толщины пластины и режущей кромки

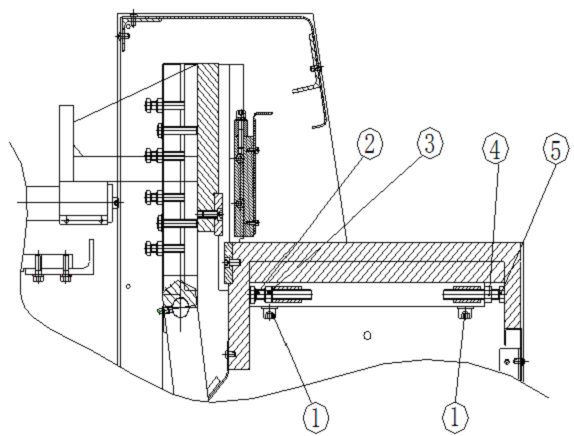
Настройка режущей кромки
Чтобы увеличить ширину режущей кромки, слегка открутите винт 1 и гайку 3, а гайку 4 закрутите в положение болта 5. Чтобы уменьшить ширину режущей кромки, слегка открутите винт 1 и гайку 4, а гайку 3 закрутите в положение болта 2. Проверьте положение режущей кромки с помощью щупа, закрутите все гайки и винты и удостоверьтесь, что толщина пластины подходит.

Электрошкаф имеет кнопку аварийного выключения и 2 переключателя.
Первый переключатель на включение/выключение станка.
Второй переключатель на два режима резки при нажатии на ножную педаль – разовая и автоматическая.
Механический задний упор имеет счётчик длины

|
Макс. ширина заготовки, мм
|
1250 |
|
Макс. толщина заготовки, мм
|
3 |
|
Потребляемая мощность, кВт
|
4 |
|
Габаритные размеры, мм
|
1870х1160х1430 |
|
Масса, кг
|
980 |

