Запрессовочный станок ULYP-8T
Крепеж присоединятся к различным материалам с помощью процесса глубокой вытяжки и которые делают это без повреждения поверхности, исключительно путем вытеснения и формирования.
Это гарантирует вам высокую продуктивную эффективность, а также полный процесс автоматического мониторинга и соединения проверки прочности.
)В процессе прессования, листовые металлы различной толщины или материалы, даже с адгезивами или другими промежуточными слоями, полностью соединены.
1)Компактная конструкция, чистый дизайн
2)Повышенная производительность с автоматической системой подачи и многоточечными заклепками
3)Большие антиэжекторные силы и крутящие момента
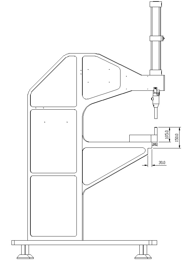
4)Высокая гибкость с регулируемой высотой
5)Высокая частота хода Высокая частота хода
6) Простота в обслуживании и сменные
7)Доступны для клепки гаек диаметром больше M10
|
? сталь 400 Н/мм2/алюминий 250 Н/мм2
Макс. толщина листа, мм
|
11 |
|
Диапазон крепежа
|
M12 |
|
Глубина захвата, мм
|
500 |
|
Номинальное усилие пресса, кН
|
80 |
|
Ход ползуна(стола), мм
|
100 |
|
Раб. давление, бар
|
5-8 |
|
Потребляемая мощность, кВт
|
7,5 |
|
Масса, кг
|
500 |












