Настольный сверлильный станок ГЗСУ ГС2112
Настольный сверлильный станок ГС2112 - сверлильный станок настольного исполнения, который позволяет выполнять следующие операции:
- зенкерование;
- сверление;
- развертывание.
Настольно-сверлильный станок ГС2112 оптимизирован для работы с отверстиями небольшого диаметра и позволяет менять скорость вращения шпинделя за счет перемещения ремня на шкивах.
Настольный сверлильный станок ГС2112 позволяет сверлить отверстия диаметром до 12 мм
Технические особенности станка ГС2112.
Простота конструкции станка ГС2112 обеспечивает легкость управления, надежность и долговечность станков.Отсчет глубины сверления на ГС2112 производится по плоской шкале или упору.
Пятиступенчатые шкивы привода ГС2112 позволяют получать пять скоростей вращения шпинделя, что обеспечивает свободный выбор скоростей резания.
Оригинальная конструкция натяжения ременной передачи на ГС2112 позволяет быстро менять положение ремня на шкивах для получения нужной скорости резания
Масса станка ГС2112 - 100 кг.
Габариты станка ГС2112 - 780x410x960
Срок гарантийного обслуживания станка ГС2112 - 12 месяцев.
Настольный сверлильный станок ГС2112 применяется на промышленных предприятиях, в цехах механической обработки или частных мастерских.
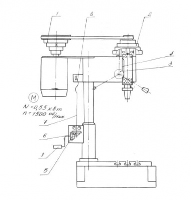
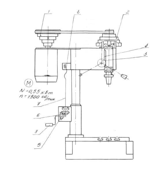
Шпиндель сверлильного станка ГС2112
Шпиндель предназначен для передачи вращения инструменту, закрепленному в патроне, который устанавливается на конце шпинделя. Шпиндель монтируется в гильзе на подшипниках качения. Зубчатая рейка гильзы находится в постоянном зацеплении с зубчатым колесом штурвального устройства.
Гайка на конце шпинделя предназначена для снятия сверлильного патрона с конуса шпинделя.
Для предотвращения самопроизвольного опускания шпинделя на валу штурвального устройства закреплена спиральная пружина.
Расположение органов управления сверлильным станком ГС2112
Расположение органов управления сверлильным станком гс2112
- Кнопка "Стоп"
- Кнопка включения вращения шпинделя
- Рукоятка перемещения шпиндельной бабки по колонне
- Рукоятка зажима натяжения ремня
- Рукоятка перемещения шпинделя
- Рукоятка зажима шпиндельной бабки на колонне
- Рукоятка вводного автоматического выключателя
Электрооборудование и электрическая схема сверлильного станка ГС2112
Электрическая схема сверлильного станка гс2112
На станке ГС2112 установлен один асинхронный электродвигатель мощностью 0,55 кВт для привода шпинделя.
В станке применяются следующие величины напряжений переменного тока:
- силовая цепь 3PEN ~380 ± 10% В, 50 ± 2% Гц;
- цепь управления 220 ± 10%В, 50 ± 2% Гц
По классу защиты от поражения электрическим током, электрооборудование относится к I классу по ГОСТ 12.2.007.0-75
Указание мер безопасности
- При распаковке станка, его расконсервации, транспортировке, установке, подготовке к работе, эксплуатации и ремонте необходимо соблюдать соответствующие требования безопасности, установленные инструкциями на проведение каждого из видов работ.
- Станок должен быть надежно заземлен, согласно п.7.5 настоящего руководства, электрическое сопротивление, измеренное между винтом заземления и любой металлической частью станка не должно превышать 0,1 Ом.
- Перед обработкой детали необходимо надежно закрепить сверлильную головку на колонне рукояткой зажима, деталь на столе станка (в тисках) и инструмент на шпинделе станка.
- Во время работы на станке не разрешается:
- Работать при открытом кожухе ременной передачи
- Производить выбивку патрона при вращении шпинделя
- Производить остановку вращения выключенного шпинделя рукой
- Время остановки вращения шпинделя после его выключения не превышает 5 сек.
- На кожухе, закрывающем ременную передачу, установлен знак "Осторожно! Прочие опасности" и предупреждающая табличка "При включенном станке не открывать".
- Освещенность рабочей поверхности в зоне обработки в системе комбинированного освещения (общее плюс местное) должна быть не менее 1000 Лк (обеспечивается потребителем с установкой на подставку (верстак), на которой установлен станок, светильника местного освещения).
- Конструкция и исполнение станка обеспечивают требования по виброакустике и шуму
Защитный кожух ременной передачи сблокирован с приводом станка для его отключения при открытии кожуха. При этом электродвигатель станка может быть запущен в ход только после закрытия кожуха.
В таблице частот вращения шпинделя приведена предупреждающая символика, указывающая на недопустимость переключения рукоятки управления при вращении шпинделя. Для подключения к сети питания на станке установлен штепсельный разъем, около которого установлен предупреждающий знак "Электрическое напряжение" и табличка с характеристикой питающей сети, цепей управления, величиной плавкой уставки предохранителей для зашиты от короткого замыкания.
|
Макс. Ø сверления (сталь), мм
|
12 |
|
Диапазон скоростей шпинделя, об/мин
|
450/800/1400/2500/4500 |
|
Количество скоростей шпинделя
|
5 |
|
Расстояние от оси шпинделя до колонны, мм
|
190 |
|
Расстояние от торца шпинделя до стола, мм
|
50-400 |
|
Ход пиноли шпинделя, мм
|
100 |
|
Конус шпинделя, Морзе
|
B18 (KM2) |
|
Размеры раб. поверхности плиты, мм
|
250x250 |
|
Количество пазов на плите
|
3 |
|
Ширина Т-образного паза плиты
|
14H14 |
|
Мощность двигателя, кВт
|
0.55 |
|
Напряжение питания, В
|
3x380 |
|
Габаритные размеры, мм
|
780x410x960 |
|
Масса, кг
|
100 |
- Станок в сборе;
- Руководство по эксплуатации
Дополнительная оснастка (поставляется за отдельную плату):
- Патрон сверлильный 6150-4029-01 – 1 шт.
- Тумба – 1 шт.
- Тиски станочные 7200-0210 – 1 шт.














