Настольный сверлильный станок НС-16
Настольный сверлильный станок НС-16 - сверлильный станок, предназначенный для рассверливания, сверления, зенкерования.
Настольный сверлильный станок НС-16 оборудован внутренним конусом Морзе М 2. Благодаря этому имеется возможность устанавливать и использовать различные типы патронов (В6-В12). Станок НС-16 позволяет использовать сверла с конусовидным хвостовиком. Такая функция обеспечивает качественное сверление отверстий размером до 22 мм.
Ход траверсы станка НС-16 при необходимости увеличивается вдвое. В частности, при использовании в помещениях, высота которых не ограничена, или в конвейерных линиях. Комплект поставки оборудования включает непосредственно станок НС-16, инструкцию и сверлильный патрон.
Настольный сверлильный станок НС-16 широко применяется в мастерских и цехах.
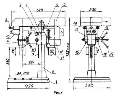
НС-16 Габариты рабочего пространства сверлильного станка
Габариты рабочего пространства сверлильного станка нс-16
НС-16 Посадочные и присоединительные базы сверлильного станка
Шпиндель настольного сверлильного станка нс-16
Состав настольно-сверлильного станка НС-16
- Плита
- Стойка
- Рейка
- Траверса
- Кожух ременной передачи
- Салазки электродвигателя
- Планка тормозная
- Винт зажимной
- Винт натяжной
- Пульт
- Вал – шестерня реечная
- Электродвигатель
- Блок электроаппаратуры
- Крышка
- Пружина возвратная
- Вал шестерня
- Ручка перемещения пиноли
- Лимб
- Гайка-барашек
- Шкив
- Втулка шлицевая
- Стакан
- Шпиндель
- Пиноль
- Гайка специальная (с левой резьбой)
- Кольцо
- Сальник
Устройство настольного сверлильного станка НС-16
Конструктивно станок НС-16 (рис.1,2,3) смонтирован на литой плите 1, на которой закреплена стойка 2 с рейкой 3.
По стойке перемещается с помощью вала – шестерни реечной 11 траверса 4. От самопроизвольного перемещения траверсы по стойке предохраняет планка тормозная 7, прижим которой регулируется винтом 8. В траверсе 4 размещен шпиндельный узел, состоящий из самого шпинделя 23 и пиноли 24.
Шпиндель 23 своим нижним концом закреплен через подшипники в пиноли 24 при помощи гайки 25 (с левой резьбой), кольца 26 и сальника 27. Верхним шлицевым концом шпиндель 23 через втулку 21 связан со шкивом 20 ременной передачи. Втулка 21 установлена с возможностью вращения через подшипники в стакане 22, жестко закрепленном на траверсе 4.
Пиноль 24 под воздействием вала-шестерни 16 через ручки 17 перемещается в траверсе. Отчет величины перемещения осуществляется по лимбу 18. Возврат пиноли 24 со шпинделем в верхнее положение осуществляется под воздействием пружины 15, которая своим внутренним концом связана с валом – шестерней 16, а наружным с крышкой 14, замыкающейся через шпонку на траверсе 4.
На траверсе 4 установлены, с возможностью перемещения под воздействием винта 9, салазки 6 с электродвигателем 12.
В блоке электроаппаратуры 13 размещены выключатель автоматический и пускатель магнитный.
В пульте 10, закрепленном на траверсе 4, размещены кнопки «Пуск» и «стоп».
Кожух 5 клиноременной передачи состоит из двух съемных частей, закрепленных на траверсе при помощи гаек – барашек 19. Для переброса ремня на необходимую ступень шкивов достаточно снять одну из частей кожуха.
Конструктивно станки моделей НС-16 и НС-16.01 (СНВШ-2) отличаются размерами плиты и исполнением шпинделя (внутренний конус, или наружный конус).
Работа настольного сверлильного станка НС-16
Включить станок в сеть выключателем в блоке 13, после пуска станка черной кнопкой включается электродвигатель 12. От электродвигателя вращение через клиноременную передачу, закрытую кожухом 5, передается на шпиндель в пиноли 24.
Пиноль перемещается при вращении вала-шестерни 16 при помощи рукоятки 17.
Отсчет вертикального перемещения при сверлении осуществляется по лимбу 18.
В конструкцию станка могут быть внесены изменения, не влияющие на его работоспособность, не отраженные в настоящей инструкции по эксплуатации.
Схема электрическая сверлильного станка НС-16
|
Макс. Ø сверления (сталь), мм
|
22 |
|
Размеры раб. поверхности стола, мм
|
310×370 |
|
Диапазон скоростей шпинделя, об/мин
|
700 / 1400 / 2800 |
|
Класс точности по ГОСТ 8-82
|
Н |
|
Количество скоростей шпинделя
|
3 |
|
Расстояние от оси шпинделя до колонны, мм
|
175 |
|
Ход пиноли шпинделя, мм
|
100 |
|
Конус шпинделя, Морзе
|
KM2 |
|
Мощность двигателя, кВт
|
0.75 |
|
Напряжение питания, В
|
3x380 |
|
Габаритные размеры, мм
|
680x350x735 |
|
Масса, кг
|
100 |
- станок в сборе;
- сверлильный патрон;
- руководство по эксплуатации.
- тиски станочные поворотные , ширина губок 100 мм;
- тиски станочные неповоротные, ширина губок 100 мм.












